中譽鼎力錘式破碎機圖紙單段錘式破碎機介紹和設計方案
中譽鼎力錘式破碎機圖紙單段錘式破碎機介紹和設計方案
鼎力單段錘式破碎機是中譽鼎力生產的礦山設備之一。通過整合錘式破碎機和沖擊式破碎機產品優點、引進學習現代技術,鼎力生產的單段錘式破碎機擁有優越的生產特點,在市場上廣受歡迎。詳細解答
詳細解答
中譽鼎力不僅提供產品還有生產方案設計的服務。我們盡力為客戶提供上為適合先的設備生產線設計。鼎力集測試、設計、生產控制、和周到的就近服務一體為顧客提供適當的生產設備方案。同時,生產操縱者應該生產線順利迅速的生產以及定期維修以化生產效率。
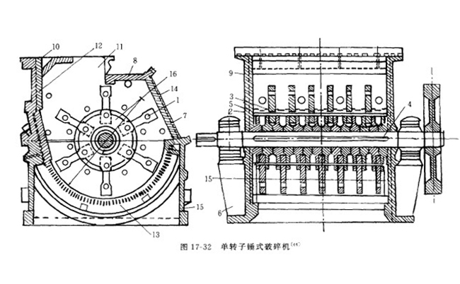
單段錘式破碎機又稱沖擊式破碎機能夠作為頭破破碎硬度較低或中硬度巖石物料。
鼎力單段錘式破碎機是中譽鼎力生產的礦山設備之一。通過整合錘式破碎機和沖擊式破碎機產品優點、引進學習現代技術,鼎力生產的單段錘式破碎機擁有優越的生產特點,在市場上廣受歡迎。
錘式破碎機的性能特點較復合式破碎機更具優勢。單段錘式破碎機破碎效率高、物料粒度控制能力強、能夠生產立體型物料。
單段錘式破碎機維修:

液壓礦山設備開啟方式使件更換觀測更加及時方便。同時,單段錘式破碎機擁有復合便捷維修門、螺絲固定的襯板加快零件更換速度、提高設備產量。
1. 破碎率可達1:40
2. 破碎機占地和安裝空間小
3. 生產線設計簡單,投資花費少
4. 錘破襯板控制物料粒度,連續給料
5. 液壓門開啟方式維修更方便
6. 沖擊棒磨損至50%以下時需要更換配件
7. 齒輪代替皮帶動力設備,動力更強
顧客優先的服務理念,指導鼎力在達成協議簽訂合同后盡可能去優化生產設備以達到預期生產效果,同時我們將為您提供周到的生產線設計安裝服務。